
닌텐도가 올해 안에 닌텐도 스위치 기반의 VR(가상현실) 헤드셋을 발표한다는 주장이 제기됐다.
닌텐도월드리포트는 15일(현지시각) 복수의 소식통을 인용해 닌텐도가 올해 초에 VR와 관련된 첫 소식을 발표할 것으로 전망했다. 또한 퍼스트파티 타이틀(하드웨어 업체인 닌텐도가 직접 개발한 소프트웨어) 중 일부가 조만간 VR 지원을 받을 수 있을 것이라고 전했다. 닌텐도 스위치의 퍼스트파티 타이틀로는 ‘젤다의전설: 야생의숨결’, ‘마리오카트8 디럭스’, ‘슈퍼마리오 오디세이’ 등이 있다.
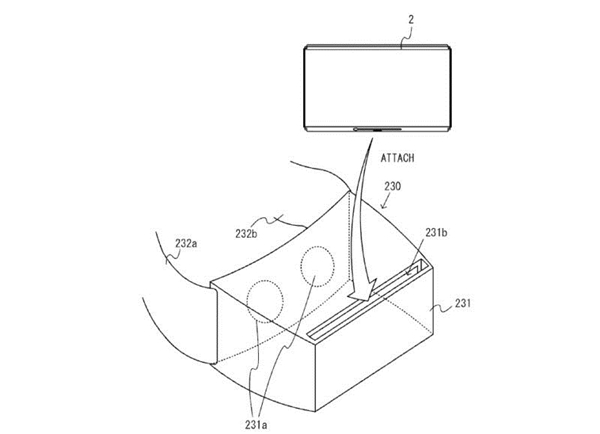
닌텐도월드리포트는 “이번 소식이 다소 놀라운 것은 사실”이라면서도 “닌텐도 스위치의 VR 기능은 이미 오래 전부터 공개됐던 내용”이라고 전했다. 2016년에는 닌텐도가 닌텐도 스위치의 출시일을 미룬 이유가 VR 기능을 추가하기 위해서라는 소문이 퍼졌다. 실제로 같은해 닌텐도는 닌텐도 스위치를 장착할 수 있는 HMD에 대한 특허 신청서를 특허청에 제출했다.

또 2017년에는 타츠미 키미시마 닌텐도 전(前) 회장이 “닌텐도 스위치에 VR을 추가할 가능성을 연구하고 있다”고 밝혔다. 2019년에는 13개 일본 기업들이 합작 설립한 VR 컨소시엄에 닌텐도가 참여중이라는 소식이 전해지기도 했다.
19일(현지시각)에는 또다른 매체 고닌텐도가 ‘닌텐도 스위치 VR’에 대한 소문은 사실이라고 보도했다. 매체는 “매우 신뢰할 수 있는 소식통을 통해 확인했다”며 “닌텐도 라보가 첫번째 VR 프로젝트가 될 것”이라고 덧붙였다. ‘닌텐도 라보’는 골판지로 구성된 조립 키트로, 닌텐도 스위치와 결합해 다양한 게임을 즐길 수 있는 주변기기다.
이로써 닌텐도는 게임 하드웨어 업체로서는 소니에 이어 두번째로 VR 헤드셋을 내놓게 될 전망이다. 반면 마이크로소프트는 2019년 초 “엑스박스에 VR을 적용시킬 계획이 없다”고 공식적으로 밝힌 바 있다. 닌텐도는 1995년 게임업체 최초로 휴대용 VR게임기 ‘버추얼보이(Virtual Boy)’를 내놓았으나, 붉은색 단색만 지원하는데다가 휴대하기도 어려워서 좋은 반응을 얻지 못했
